
图片来源:USPTO
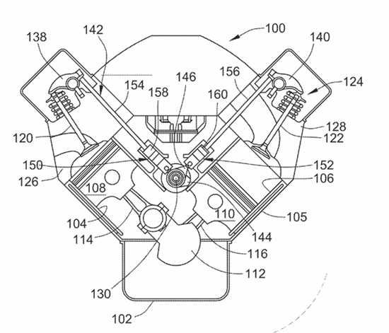
在正常运行状态下,摇臂会带动推杆和气门,使气门开启和关闭。当需要停用气缸时,加压液压油经由摇臂轴流入安装在液压油通道内的插入式套筒中。该插入式套筒包含一个供油口,用于将液压油导向OCV,还包含一个供油腔,用于将液压油从OCV输送至摇臂内的弹簧锁紧装置。

图片来源:USPTO
在正常运行状态下,摇臂会带动推杆和气门,使气门开启和关闭。当需要停用气缸时,加压液压油经由摇臂轴流入安装在液压油通道内的插入式套筒中。该插入式套筒包含一个供油口,用于将液压油导向OCV,还包含一个供油腔,用于将液压油从OCV输送至摇臂内的弹簧锁紧装置。
本网转载的信息在于传播更多信息,不代表本网观点,转载有出处,如涉及图片或内容侵权等问题,请联系750472460#qq.com(#替换成@)删除。
近日,在西方感恩节当天通用汽车对外发布了一款全新轿车的概念设计图。据悉该设计图由Aaron Riggs(艾伦里格斯)创作,他自从2012年7月以 【详细】
近日,通用汽车在2022科技日上发布了首款概念车FNR-XE。与此同时,官方透露,2025年底前在中国市场推出超过15款基于奥特能平台的电动车 【详细】