
图片来源:USPTO
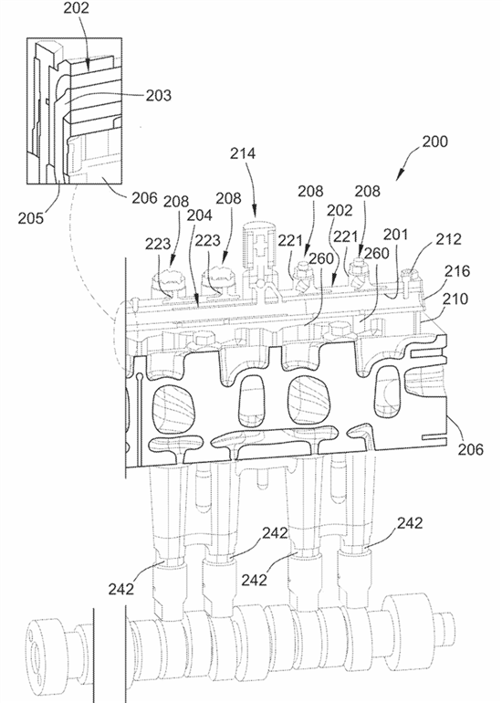
当高压液压油到达弹簧锁紧装置时,该装置会使摇臂与推杆脱离。这会阻止推杆向摇臂传递动力,从而有效地阻止相应的进气门或排气门开启,最终实现气缸的停用。

图片来源:USPTO
当高压液压油到达弹簧锁紧装置时,该装置会使摇臂与推杆脱离。这会阻止推杆向摇臂传递动力,从而有效地阻止相应的进气门或排气门开启,最终实现气缸的停用。
本网转载的信息在于传播更多信息,不代表本网观点,转载有出处,如涉及图片或内容侵权等问题,请联系750472460#qq.com(#替换成@)删除。
近日,在西方感恩节当天通用汽车对外发布了一款全新轿车的概念设计图。据悉该设计图由Aaron Riggs(艾伦里格斯)创作,他自从2012年7月以 【详细】
近日,通用汽车在2022科技日上发布了首款概念车FNR-XE。与此同时,官方透露,2025年底前在中国市场推出超过15款基于奥特能平台的电动车 【详细】